直流磁路系统(螺线管式)仿真与测试
实验题目:直流磁路系统(螺线管式)仿真与测试
1. 课程简要信息
课程名称:电磁场实验
课程学时:40
项目学时:课内2/课外 1
适用专业:电气工程、自动化、测控专业
学生年级:二年级、春季
2. 实验内容与任务(限 500 字,可与“实验过程及要求”合并)
实验内容:
1)理解磁阻和磁导的定义,研究典型直流磁路系统——螺管式磁系统的磁路等效分析方法;
2)研究磁路中关键参数(气隙长度)对磁路输出特性的影响;
3)组装螺线管式直流磁系统实物模型,搭建并调试典型直流磁系统输出特性测试电路;
4)利用所搭建的磁路实物模型及其测试系统,研究直流磁系统的典型输出特性。
实验任务:
(1)基本实验任务
1)根据典型螺管式直流磁系统组成,区分磁阻与磁势,建立磁路计算模型,研究其主回路磁通与衔铁吸力间的关系;
2)建立直流磁系统的有限元仿真计算模型,提取气隙磁通,研究气隙与保持力、吸合电压、吸合时间的关系;
3)设计直流磁系统电参数测试电路,测试磁系统吸合电压、释放电压、吸合时间、释放时间参数的测试,验证磁路模型的正确性。
(2)能力提升部分
1)仿真部分开放式实验:基于所建立的有限元模型,计算不同软磁材质(DT4A、DT4E、1J22)衔铁,计算主回路磁通变化情况,分析磁材差异与气隙磁通间非线性关系;
2)磁路部分开放式实验:针对测试波形中吸合电压的“下沉”特性,分析线圈电感在直流磁路动态吸合过程中的三阶段作用;在此基础上,结合所学电路、电磁场知识,给出抑制“下沉”特性的磁路调整方法,并实测调整效果。
3. 实验过程及要求(限 300 字)
(1) 课前预习
1)观摩实验操作视频,掌握实验室提供的相关仪器、设备使用方法与安全常识;
2)理解比奥-沙伐法定理、磁阻、磁势、电工磁材相关理论知识;
3)掌握磁路计算原理、方法,熟练应用 Altair Flux 仿真软件;
4)掌握直流磁系统电参数与吸力的测试方法。
(2) 课上实践
1)根据预习选择合适元器件、测试仪器搭建测试电路,组装磁系统模型;
2)选择仪器及合适的测量方法,按照步骤测量并记录所需数据;
3)分析磁路实物模型测量与仿真值间误差的原因;
4)开放式能力提升思考题,并引导学生思考。
(3) 课后总结
1) 对实验中出现的问题进行归纳总结;
2) 对实验结果进行分析,提交实验报告;
3) 线上线下师生互动,QQ 群文件复习并通过社交 App随时答疑提升。
4. 相关知识及背景(限 150 字)
随着新能源领的快速发展,电动车系统中的高压直流控制电器应用广泛,该类器件中典型的螺线管式直流磁系统成为本领域的研究重点。
磁路设计及电磁参数特性测试方法实验相关知识涉及磁阻、磁势、磁路的基本概念与定理;基尔霍夫磁通定理;直流磁系统磁路设计;磁路建模分析方法;有限元计算方法;电工直流磁材特性等相关知识。
5. 实验环境条件
实验条件包括磁路模型、测试电路所需的硬件条件,以及仿真软件所需的软件条件。
表 1 实验所需主要硬件条件
| 序号 | 设备仪器、元件 | 型号规格 | 数量 |
| 1 | 直流稳压电源 | SS3323 | 1 |
| 2 | 示波器 | DSO-X 3024A | 1 |
| 3 | 数字高斯计 | HT20 | 1 |
| 4 | 万用表 | FLUKE | 1 |
| 5 | 电阻、电感、电容、导线 | 若干 | |
| 6 | 推拉力测试计 | ALGOL | 1 |
| 7 | 可调节教学用直流磁系统模型 | LEV200-MJ | 1 |
| 8 | 有限元分析软件Atair Flux | V12.3 | 1 |
5.1 直流稳压电源
本实验中,使用的电源为直流稳压电源,如图5-1 所示,根据使用需求不同,通常使用四种联接方式,其主要使用独立输出模式。

图 5-1 主要实验仪器——直流稳压电源
本直流稳压电源根据使用需求不同,共有下图所示四种连接方式。

图 5-2 直流稳压电源联接方式
独立输出操作模式:CH1 和 CH2 电源供应器在额定电流时,分别可供给 0-额定值的电压输出。当设定在独立模式时,CH1 和CH2 为完全独立的两组电源,可单独或两组同时使用:
(1) 打开电源,确认OUTPUT开关置于关断状态(2) 同时将两个 TRACKING 选择按键按出,将电源供应器设定在独立操作模式。
(3) 调整电压和电流旋钮至所需电压和电流值。
(4) 将红色测试导线插入输出端的正极。
(5) 将黑色测试导线插入输出端的负极。
(6) 连接负载后,打开 OUTPUT 开关。
5.2 数字信号示波器(DSO-X3024A)
本实验中使用的示波器如图 5-3 所示,测试过程中所涉及的主要键位功能进行介绍。
(1) 电源开关:按一次打开电源,再按一次关闭电源。(2) 软键:这些键的功能会根据现实屏上键上方显示的菜单有所改变。(3) 亮度控制键:按下该键使其亮起。该键亮起时,旋转Entry旋钮可调整波形亮度。(4) .水平控制: $\textcircled{1}$ 水平定标旋钮:可调整时间/格(扫描速度)设置。该旋钮下方的符号表示此控制具有水平定标在波形上展开或放大的效果;$\textcircled{2}$ :水平位置旋钮:可水平平移波形数据。

图 5-3 主要实验仪器——示波器
(5) 运行控制:当[Run/Stop](运行/停止)键为绿色时,表示示波器正在运行,既符合触发条件,正在采集数据。要停止采集数据,请按下[Run/Stop](运行/停止)。
当[Run/Stop](运行/停止)键为红色时,表示数据采集已停止。要开始采集数据,请按下[Run/Stop](运行/停止)。
若需捕获并显示单次采集(无论示波器是运行还是停止),请按下Single。Single键是黄色,直到示波器出发为止。
(6) 垂直控制: $\textcircled{1}$ 模拟通道开/关键:使用这些键可打开或关闭通道,或访问软键中的通道菜单。每个模拟通道都有一个通道开/关键;
$\textcircled{2}$ 垂直定标按钮:使用这些旋钮可更改每个模拟通道的垂直灵敏度(增益);
$\textcircled{3}$ 垂直位置旋钮:使用这些旋钮可更改显示屏上通道的垂直位置。每个模拟通道都有一个垂直位置控制。
(7) 模拟通道输入:将示波器探头或 BNC 电缆连接到这些 BNC 连接器。
(8) 文件键:按下Save/Recall键可保存或调用波形或设置。
5.3 有限元分析软件(Altair Flux v12.3)

图 5-4 主要实验软件——Altair Flux 软件界面
本实验中推荐使用有限元软件 Altair Flux12.3 建立磁系统有限元分析模型进行电磁吸力计算与磁通路径分析。
6. 教学目标与目的(限 150 字)
教学目的:培养学生工程实践能力和独立思维创新精神
教学目标:
1) 熟练分析直流磁系统中的典型磁路;
2) 掌握磁阻、磁势的等效方法,磁路的计算方法及磁性材料的基本特性;
3) 掌握根据测试目标选择元器件、仪器搭建磁系统测试电路的基本方法;
4) 掌握静磁场有限元仿真软件的使用方法。
7. 教学设计与实施进程
以学生为主体,教师主导的实验教学设计如图7-1 所示。

图 7-1 实验教学设计
(1) 课前预习引导
1) 下达任务 发布公告雨课堂发布预习公告,布置实验内容,下达实验任务。
2) MOOC 视频 恒定磁场-磁路理论介绍MOOC 视频提供相关内容讲解,如磁阻、磁势、磁路计算、直流磁性材料特性等理论知识。
3) 仪器实操 上传资料
SPOC 中上传参考资料,提供磁路模型组装调试及测试仪器设备操作规范及仿真学习微课和文档等,引导学生自主设计基本磁路模型并进行仿真实验。
预习要求及检查:
要求在预习报告中绘制出所设计的基本实验磁路、实验测试电路(标注元器件参数)和仿真波形,简述工作原理,经老师检查后,进入实验室操作。
(2) 课堂实时指导
1)边做边想 积极思考
同学们在充分预习的基础上已经具备了搭建基本磁路并进行磁系统测试的能力,课堂上可以直接进行动手操作,对比仿真结果。老师根据每组(每位)实验操作情况,有针对性地提出新要求,引导学生拓展思维,积极思考。
2)一组一案 分类指导
关注实验过程中出现的共性问题,适时集体指导的同时,鉴于每组(每位)学生的具体实验情况,根据需要进行个别的指导。因材施教,提高同学发现问题、思考问题与解决问题的能力。
3)生讲生评 师点技巧
对于易犯的低级磁路测试与仿真设置错误可以由同学自行解决,或者在与他人讨论中解决;对于实验基础和提高部分做的都特别好的两组给予适当加分,以调动学生实践创新的积极性。但首先要讲给大家听,由同学们给出评价,老师只是点评实验技巧。
实验验收重点:
(a) 是否成功搭建了所设计的磁路系统及测试电路;(b) 磁路有限元仿真模型及各磁系统参数测试的磁通、电压、电流测量数据是否完整,气隙-磁通-吸力变化规律是否符合应有变化规律;(c) 是否完成基础实验部分,是否有一定的扩展提高。
(3) 课后答疑辅导
1) 互问互答 全班参考
课内实验学时结束后,针对遗留的问题或课后想到的疑惑,老师鼓励学生在班级群或 SPOC 中提出,会的同学就给予解答,激励同学们互问互答,全班同学都可以参考,以扩展知识面。由此班级群成为一个积极向上的学习讨论群。
2) 整理数据 提交报告
根据实测数据进行整理计算,按照报告规范一周后以班级为单位提交至实验室。

图 8-1 实验原理及实验方案
3) 总结经验 促进提高
老师对实验中出现的问题进行整理,在教学网站上传常见问题解答;与学生及时交流,雨课堂发放调查问卷,获取反馈信息进行改进,以待后续提高。
8. 实验原理及方案
本实验依据的实验基本原理和所设计的实验方案如图 8-1 所示。
8.1 实验原理
本实验所研究的螺管式电磁机构源于汽车行业、光伏、风电系统中使用的新能源电器。磁系统模型主要由1—外壳、2—连杆、3—线圈、4—衔铁、5—反力弹簧、6—铁芯、7—轭铁、8—回跳弹簧、9—动触头、10—静触头等组成,其外观及结构图如图 8-2 所示。
其中外壳、线圈、衔铁、铁芯、轭铁为机构电磁部分,提供吸力,反力弹簧、回跳弹簧为机构提供反力。

$x _ { x 0 }$ 、 $x _ { d 0 }$ -行程、开距 $k _ { 1 }$ 、k2,f10、 $f _ { 2 0 }$ -两弹簧的刚度和初始力
图 8-2 螺管式电磁机构结构示意图
8.1.1 磁场、直流磁路基本原理
在电路理论中用路作模型研究电的规律,在麦克斯韦方程组的基础上可推导基尔霍夫磁路定律。在满足集中假设的条件下,路的模型比场的模型数学表达式简单许多。同理,在一定条件下可用路作模型研究磁的问题,并称之为磁路问题。由于电场与磁场性质的相似性,使得磁路与电路具有许多相似的定律及分析方法。
(1) 磁场中的物理量
磁感应强度 $\pmb { B }$ :表征磁场强弱和方向的一个基本物理量。
磁通 $\phi$ :磁感应强度矢量的通量称为磁通。
磁场强度 $\pmb { H }$ :反映介质的磁作用。
(2) 比奥---沙伐定律
磁路中的线圈恒定电流激发恒定磁场。在无限大,均匀,线性介质中,载流线元 $I d \vec { l }$ 产生的磁场为比奥---沙伐定律:
$$ d \vec { B } = \frac { \mu I d \vec { l } \times r _ { 0 } } { 4 \pi r ^ { 2 } } $$
式中: $\mu = \mu _ { 0 } \cdot \mu _ { r }$ 为磁导率, $\mu _ { r }$ 为相对磁导率( $\mu _ { r } < 1$ 顺磁, $\mu _ { r } > 1$ 反磁)
$$ \mu _ { 0 } = 4 \pi { \times } 1 0 ^ { - 7 } $$
整个电流回路产生B(线电流分布): $\Vec { B } = \frac { \mu I } { 4 \pi } \oint _ { l } \frac { d \Vec { l } \times \Vec { r } } { r ^ { 3 } }$ 。则直流磁系统中的线圈能量同静电场电荷系统能量推导一样,能量的表达式如下:
$$ w _ { m } = \frac { 1 } { 2 } \sum _ { k = 1 } ^ { n } I _ { k } \phi _ { k } $$
式中 $I _ { \mathit { \Pi } _ { k } }$ ---各回路上的电流
$\phi _ { k }$ ---整个磁场穿过回路 $k$ 的总磁通
当 n=1 , $w _ { m } = \frac { 1 } { 2 } I _ { 1 } \phi _ { 1 } = \frac { 1 } { 2 } I _ { 1 } L _ { 1 } I _ { 1 } \Rightarrow L _ { 1 } = \frac { 2 w _ { m } } { { I _ { 1 } } ^ { 2 } }$ 当 $n = 2$ ,$w _ { m } = { \frac { 1 } { 2 } } I _ { 1 } \phi _ { 1 } + { \frac { 1 } { 2 } } I _ { 2 } \phi _ { 2 } = { \frac { 1 } { 2 } } I _ { 1 } \left[ L _ { 1 } I _ { 1 } + I _ { 2 } M _ { 2 1 } \right] + { \frac { 1 } { 2 } } I _ { 2 } \left[ L _ { 2 } I _ { 2 } + I _ { 1 } M _ { 1 2 } \right] = { \frac { 1 } { 2 } } I _ { 1 } ^ { 2 } L _ { 1 } + { \frac { 1 } { 2 } } I _ { 2 } ^ { 2 } L _ { 1 } + I _ { 1 } I _ { 2 } M \ ,$
(3) 磁通的连续性定律(基尔霍夫磁通定律)
磁场中穿出任意闭合面S的磁通之和等于零,即
$$ \bigoplus _ { s } \mathbf { B } \cdot \mathrm { d } \mathbf { S } = 0 $$
磁通连续性是磁场本身性质决定的,即磁感应线总是闭合的。
(4) 安培环路定律(基尔霍夫磁位差定律)
磁场强度 H 沿任意闭合回路 $l$ 的线积分等于穿过该回路的电流代数和,即
$$ \oint _ { l } \boldsymbol { H } \cdot \mathrm { d } \boldsymbol { l } = \sum _ { \scriptstyle i } $$
(5) 磁阻和磁导
仿照电阻和电导的概念,将均匀磁路上磁位差与磁通之比称定义为磁阻,磁阻的倒数称为磁导
$$ R _ { \mathrm { { m } } } = { \frac { U _ { \mathrm { { m } } } } { \phi } } = { \frac { 1 } { \varLambda } } $$
(6) 磁性材料的磁化曲线
磁感应强度B和磁场强度H 的关系曲线称为铁磁材料的磁化曲线。

图 8-3 铁磁材料磁化曲线及磁化回路示意图
通过改变线圈电流i,便可改变铁磁物质内的磁场强度H,再测得此时的磁感应强度B,就可得到一组 $\mathrm { B - H }$ 数据。在 $\mathrm { B } { - } \mathrm { H }$ 坐标系上逐点连接各测试点即得B-H 曲线。
磁感应强度变化滞后于磁场强度变化的现象称为磁滞。经过多个循环之后,磁化曲线趋于一个对称于原点的闭合回线,这种回线称为磁滞回线。
同一种材料在不同的 $H _ { \mathrm { m } }$ 值下得到的磁滞回线的顶点联成的曲线称为基本磁化曲线,一般给出曲线而未加申明的都是基本磁化曲线。

图8-4 铁磁材料 BH曲线
电路中的物理量和磁路中的物理量对比列出,下表为其对应关系。
表 8-1 磁路与电路的对比
| 对比内容 | 磁路 | 电路 |
| 变量 | 磁感应强度B | 电流密度J |
| 磁通 | 电流I | |
| 磁位差Um | 电压U | |
| 磁通势Fm | 电动势E | |
| 定律 | 基尔霍夫磁通定律∑Φ=0 | 基尔霍夫电流定律M1=0 |
| 基尔霍夫磁位差定律ΣUm=∑Fm | 基尔霍夫电压定律Mu=0 | |
| 磁路中的欧姆定律Um=Rm | 电路中的欧姆定律U =RI | |
| 参数 | 磁导率从 | 电导率Y |
| 磁阻Rm | R=电阻"-γs |
8.1.2 实验方案 第一部分:直流磁系统磁路模型的建立与有限元模型分析
(1) 已知磁通求磁通势(忽略漏磁)
$\textcircled{1}$ 分段:材料与截面积都相同的作为一段,每一段的任何截面具有相同的平均磁感应强度和平
均磁场强度。
$\textcircled{2}$ 计算尺寸:作出中心线,根据给定尺寸算出各段磁路截面积和平均长度。
$\textcircled{1}$ 根据给定磁通计算各段磁路的磁感应强度。
$\textcircled{2}$ 从已得各段磁感应强度确定磁场强度。
气隙的磁场强度为:
$$ H _ { \delta } = \frac { B _ { \delta } } { \mu _ { 0 } } = \frac { B _ { \delta } } { 4 \pi \times 1 0 ^ { - 7 } \mathrm { H / m } } \approx 8 . 0 \times 1 0 ^ { 5 } \mathrm { ( m / H ) } B _ { \delta } $$
铁心段须根据 B,从相应材料的 B-H 曲线查出对应的磁场强度 $\mathrm { H }$ 。
$\textcircled{1}$ 计算各段磁路的磁位差和磁通势(2) 已知磁通势求磁通(忽略漏磁)
如给定磁通势求磁通,属于反问题。反问题不像正问题那样易于求解。工程上所采用的方法有试凑法、图解法等。工程上通常采用数值计算法。
根据图8-1所示直流磁系统结构图,可知轭铁、工作气隙、衔铁、非工作气隙、铁芯、外壳组成闭环磁路,因此在不计漏磁的情况下,可得到如图 2-2 所示的等效磁路模型。图中 $R _ { 1 } , R _ { 2 } , R _ { 3 } ,$ $R _ { 4 }$ 、$R _ { 5 }$ 和 $R _ { 6 }$ 分别为衔铁,铁芯,外壳和轭铁磁阻, $R _ { \delta 1 }$ 为工作气隙磁阻, $R _ { \delta 2 }$ 为非工作气隙磁阻, $\mathit { I N }$ 为线圈磁动势。

图8-5 直流磁系统等效磁路
由磁通的连续性定律和安培环路定律等磁路理论可得该磁路的回路方程如式下所示:
$$ \left{ \begin{array} { l l } { \phi _ { 1 } ( R _ { \delta 1 } + R _ { m } ) + \phi _ { 2 } R _ { \delta 2 } = I N } \ { R _ { m } = R _ { 1 } + R _ { 3 } + R _ { 4 } + R _ { 5 } + R _ { 6 } } \ { \phi _ { 2 } R _ { \delta 2 } = ( \phi _ { 1 } - \phi _ { 2 } ) R _ { 2 } } \end{array} \right. $$
式中 $\varPhi _ { 1 } .$ ——工作气隙的磁通;
$\varPhi _ { 2 }$ ——非工作气隙的磁通;
$R _ { \mathrm { m } }$ ——导磁体磁阻之和。
求解该方程组就是通过解析法或数值法求得工作气隙的磁通及非工作气隙磁通,从而得到电磁
吸力。
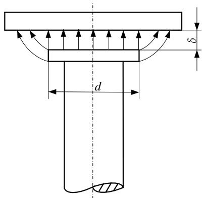
利用磁路法计算时,气隙磁阻计算的准确性决定了磁路法计算静态特性结果的准确程度,因此需要对气隙磁阻的计算进行分析。对于如图 2-3 所示的相互平行的圆形导磁体,计算气隙磁阻时要考虑边缘效应,一般采用如式(2-2)所示公式进行计算。

图8-6 平行圆形极面气隙示意图
$$ R _ { \delta } = \left{ \begin{array} { l l } { \displaystyle \frac { 4 \delta } { \mu _ { 0 } \pi d ^ { 2 } } } & { \displaystyle \frac { \delta } { d } \leq 0 . 2 } \ { \displaystyle \frac { \delta } { \mu _ { 0 } ( 0 . 8 6 6 d + \frac { 0 . 3 0 7 } { \pi } \delta ) ^ { 2 } } } & { \displaystyle \frac { \delta } { d } > 0 . 2 } \end{array} \right. $$
该电磁机构中,轭铁及外壳上端为圆盘形导磁体,其结构如图 2-4 所示,并且其磁通沿径向分布,因此其磁阻需要加以分析和推理,磁阻定义如下式所示。
$$ R = \frac { l } { \mu s } $$
式中 l——磁路长度;
s— 磁路横截面积;
$\mu$ ——材料的磁导率。通过积分计算得到,如下所示:
$$ R = \int _ { r _ { 1 } } ^ { r _ { 2 } } \frac { \mathrm { ~ d ~ } r } { \mu \bullet 2 \pi r h } = \frac { 1 } { 2 \mu \pi h } \ln \frac { r _ { 2 } } { r _ { 1 } } $$
由于导磁体通常不是线性材料,故将轭铁、外壳等导磁体在径向拆分成适当数量的圆环串联形式,然后使用磁阻计算公式计算,最终累加得到一个近似结果,拆分的数量越多得到的结果越准确。

图 8-7 DT4C 磁化曲线
直流磁系统磁路中导磁体均为直流软磁材料 DT4C,其磁化曲线如图 8-7 所示,呈非线性关系,并且存在饱和现象,饱和值约为 1.947T。
使用有限元软件FLUX建立仿真模型来对其静态特性进行研究,其步骤如图8-8所示。

图8-8 有限元法计算静态特性基本流程
即先根据电磁机构图纸,建立电磁部分的几何模型,综合考虑精确度和计算量划分有限元网格,再设置各部分的材料属性、线圈参数和仿真步长,最后通过计算获得不同电流和位移下的电磁吸力和线圈磁链。
模型如图8-9所示。线圈为螺线管型,匝数为1954,线径为 $0 . 3 9 2 \mathrm { m m }$ ,直流电阻为44Ω,线圈电压为28V。

图 8-9 电磁系统 FLUX 模型图
通过磁路法和有限元法计算得到在12V电压下电磁吸力和线圈磁链随衔铁位移变化的曲线图如图8-10和图8-11所示。

图8-10 电磁吸力随衔铁位移变化曲线

图8-11 线圈磁链随衔铁位移变化曲线
8.1.3 实验方案 第二部分:直流磁系统实物仿真模型的搭建
首先使用酒精对直流磁系统模型中的关键组件进行测量。
1 测量磁路关键组件尺寸(衔铁行程、触点开距、超程),将测量的结果记录在下表中;
表 8-2 磁路组成模块尺寸记录
| 衔铁行程(mm) | 触点开距(mm) | 超程(mm) | |
| 1 | |||
| 2 | |||
| 3 | |||
| 均值 |
2 使用测力计或测力台实测磁系统结构中弹簧参数,将测量结果记录在下表中;
表 8-3 磁路系统辅助弹簧刚度测试
| 返回弹簧自由长度(mm) | 返回弹簧压力(N)10.2mm | 返回弹簧压力(N)7.5mm | 超程弹簧自由长度(mm) | 超程弹簧压力(N)6mm | 超程弹簧压力(N)5mm | |
| 1 | ||||||
| 2 | ||||||
| 3 | ||||||
| 均值 |
3 对磁路模型进行装配;
4 磁路模型组装
4.1孔轭铁部分
将轴套装入孔轭铁中,组装好后,自润滑轴承上边缘不高于孔轭铁上边缘,如图 8-12 所示。

图 8-12 孔轭铁部分示意图
4.2 传动部分
将传动杆依次穿过上轭铁、返回弹簧和根据螺纹进行装配;(固定衔铁,对传动杆轴向施加 210N的静态拉力,不允许出现连接处开裂,传动杆松动等损伤,否则剔除不合格品)。
依次将挡圈、动触点、超程弹簧装在传动部分上,装配过程如图 8-13 所示;

图 8-13 传动部分组装示意图
使用深度尺测量聚酰亚胺座下边缘到动触头下边缘的距离 A,保持超程弹簧不动的情况下,使用游标卡尺测量动触头上边缘到上轭铁上边缘的距离 B,则触头开距 $\mathrm { \hbar } = \mathbf { A } - \mathbf { B }$ ,超程 $\scriptstyle : =$ 衔铁行程-触点开距,多次测量,将数据记录在表中。
4.3磁路系统整体组装
将线圈骨架部分,孔轭铁部分、传动部分、隔离罩装入外壳中(将线圈引线从陶瓷座预留的孔引出),图8-14所示。将两条线圈引线分别与导线进行焊接,并使用绝缘胶带包裹;将固定架装在陶瓷座上,使用螺丝、螺母将固定架固定。

图 8-14 磁系统整体组装示意图
8.1.4 实验方案 第三部分:磁系统测试电路的搭建与磁路特性测试
磁系统电参数测试电路如下图所示。

图8-15 磁系统电参数测试电路
- 设置触点回路电源电压为 6v;保证线圈回路的线圈电压为 $2 8 \mathrm { v }$ ,考虑采样电阻,经过计算设置线圈回路电源电压;设置开关继电器回路电源电压为 $2 4 \mathrm { v }$ ;线圈电流及触点电压波形。同时使用测力计测试不同电压下衔铁引出推杆力值。
表 8-4 不同电压衔铁引出推杆力测试
| 衔铁总行程(mm) | 额定电压衔铁终端压力(N)28V | 吸合电压衔铁终端压力(N)14V | 释放电压衔铁终端压力(N)5V | |
| 1 | ||||
| 2 | ||||
| 3 | ||||
| 均值 |
-
设置示波器[Run/Stop](运行/停止)键为绿色,示波器为 $2 \mathrm { s } /$ 格,先接通触点回路和线圈回路电源,控制继电器回路通、断,重复三次,再按下示波器[Run/Stop](运行/停止)键,停止采集。
-
分别放大吸合、释放触点波形,将波形数据记录在下表。
表8-5 时间参数测试记录表
| 测试 | 吸合时间(ms) | 吸合回跳时间(ms) | 释放时间(ms) | 释放回跳时间(ms) |
| 1 | ||||
| 2 | ||||
| 3 | ||||
| 均值 | ||||
| 备注 |
- 测试接触器吸合、释放电压。将结果记录在下表中。
表 8-6 电参数测试记录表
| 测试 | 吸合电压(V) | 释放电压(V) |
| 1 | ||
| 2 | ||
| 3 | ||
| 平均值 |
根据IEC61810-1 标准规定,测试触点回跳时,线圈应加额定电压,触点负载为 $6 \mathrm { V } { \sim } 2 8 \mathrm { V } ($ (直流最大值或交流峰值)、 $1 0 0 \mathrm { m A }$ (最大值)。当出现任何等于或大于开路电压 $9 0 %$ 、且脉冲宽度等于或大于$1 0 \mu \mathrm { s }$ 的现象,则认为是触点会跳现象。
图中电阻R1为接触器线圈电阻( $4 0 \Omega$ ), $R _ { 2 }$ 为线圈电流采样电阻( $( 2 \Omega )$ )。线圈的额定工作电压为28V,实际测量中电源电压的值应为线圈电压28V和采样电阻 $R _ { 2 }$ 所分得的电压的和,经计算电源电压设置为 29.4V。将示波器的探头接到采样电阻的两端,通过测量采样电阻 $R _ { 2 }$ 两端的电压可间接得到线圈电流变化的波形。
使用测力计或公用测力台实测磁系统端部电磁吸力。

图8-16磁力计、组装完成磁路系统及直流磁系统测力台
在测量线圈电流的同时为动、静触头接入负载,将两个静触头分别接电源正负极,在负载回路中串联接入采样电阻 $R _ { 3 }$ ,电阻 $R _ { 3 }$ 的阻值为 $6 0 0 \Omega$ ,触点负载电流为 $1 0 \mathrm { m A }$ ,电源电压为 6V。通过观察采样电阻 $R _ { 2 }$ 、 $R _ { 3 }$ 两端的电压波形变化情况可以得到触头的转换时间、回跳次数、回跳时间。

图8-17 吸合过程测试波形
如图所示,讲 X1 和 X2 调至图中位置,吸合时间 $- \Delta \mathrm { X }$ 。多次测量,将数据记录在表 1 中。将图8-16中,X1至X2位置部分放大,得到下图 8-17。

图 8-18 吸合过程回跳部分测试波形
IEC21711.1规定,当出现任何等于或大于 $9 0 %$ 的开路电压,且脉冲宽度等于或大于 $1 0 \mu \mathrm { s }$ 的现象则认为是触点回跳(L级失效率)。如上图所示,回跳时间 ${ = } \Delta \mathrm { X }$ 回跳次数为9 次。多次测量,将测试数据记录在表1中。释放时间的测量与吸合时间的测量方法一致,将数据记录在表 1中。
8.3 教学实施进程说明
(1) 下达任务 发布材料老师在实验前一周下发实验预习任务,指明实验内容以及对应的理论知识点;学生根据任务提前思考,观看教学视频,设计实验方案,计算实验参数。
(2) 实验操作 积极思考
学生根据预习内容,分析直流磁系统磁路,画出磁路图,运行建立的有限元程序,计算衔铁吸力与吸合时间;组装直流磁系统,搭建测试电路,课堂上现场连线操作并记录实验测量数据;老师根据每组(每人)实际情况,实时监督指导,随时提出问题供学生思考,培养学生实践中解决问题的能力。
(3) 扩展设计 创新提高
在学生完成基础实验后,适时引导学生拓展思维,综合运用所学章节前后贯通,自主设计综合实验,方案老师检查通过即刻操作,以促进学生创新提高。
(4) 总结经验 提交报告
老师进行实验结果验收,学生要根据实验测量数据与收获整理实验报告一周后提交。
(5) 综合成绩 师生共判
评判学生成绩依据后面第10 项的考核要求与方法:报告内容方案是否书写整洁简明,测量数据处理是否完善,结论分析是否科学合理,思考问题角度是否新颖,正文图表公式是否规范,甚至有没有对该实验或实验室的建议或意见等等;综合课前预习,课堂实验表现,课后班级讨论等等,再参考同学评价给出最终成绩。
9. 实验报告要求
实验报告需要反映以下工作:
(1)预习内容
包括磁路基本理论表述,设计正确的实验方案,绘制实验测试电路图;依据磁路参数推导主回路磁通、吸力曲线;预习仿真磁系统模型,仿真波形分析,利用仿真结果计算直流磁系统磁路吸力值并与磁路理论值进行比较。
(2)实验内容
1)实验题目准确、目标明确;
2)实验选择设备、仪器与磁路元件名称清楚;
3)实验思考问题解答简明正确;
4)基本实验测量数据分析;
包括实验测试电路图正确,操作规范,测试数据记录完整清晰,具体如下:
(a) 磁路静态吸力特性测试:记录磁路系统中的衔铁行程、开距、超程的测量数据计入表 8-1;通过对磁路中线圈激励额定电压(28V)、吸合电压(15V)、释放电压(5V)记录终端力测试数据,计入表8-4中。分析测量结果,对比仿真实验数据,总结误差原因。
(b) 磁路动态特性(时间参数)测试:搭建测试电路,记录磁路系统吸合、释放过程中的线圈电压、触点电流波形,将吸合时间、释放时间测量数据计入表 8-5。分析测量结果,对比仿真实验数据,总结误差原因。
(c) 磁路动态特性(电参数)测试:在释放状态下,通过缓慢增加磁路中线圈激励电压,直至衔铁吸合,衔铁动作瞬间电压数据记入表8-6;在吸合状态下,通过缓慢降低磁路中线圈激励电压,直至衔铁释放,衔铁动作瞬间电压数据记入表 8-6。分析测量结果,对比仿真实验数据,总结误差原因。
5)实验提高创新设计;
磁材差异与气隙磁通间非线性关系,吸合电压“下沉”现象抑制方法设计等提高部分,需要学生自主设计实验电路和测量步骤,设计实验表格并记录数据,深入分析实验现象,解决测量过程中遇到的技术问题,查找理论和实测误差原因,提出解决方案。
6)实验结论,收获与体会,对实验室的建议,撰写质量高、规范的实验报告;
7)附加有实验指导教师签字的原始数据记录。
(3)思考回答
-
磁路组装过程中,线圈产生的磁通,有哪些手段可以减少磁系统中的漏磁,原理是什么?
-
仿真时线圈的电阻若增加 10 倍,对吸合释放波形有什么影响,为什么?
-
使用矫顽力更高的材料制作衔铁,保持力增加,为什么?
10.考核要求与方法(限 300 字)
1) 课前预习(3 分)
掌握电磁场、磁路基本理论,了解测试仪器设备的使用方法,实验测试方案设计正确,绘制完整磁路图、测试电路图,做好课前仿真记录;
2) 课内实验(4 分)
磁路模型组装正确,建立有限元模型,计算实验磁路参数,仪器使用熟练,测量过程完整,实验操作规范,数据记录准确,积极参加讨论,问题分析深入,工程实践综合能力强;
3) 实验报告(3 分)
实验报告提交及时,内容方案书写整洁,测量数据合理处理完善,磁路分析科学合理,思考问题角度新颖,图表公式规范完整;
4) 扩展提高(附加 2 分)
扩展设计有创新,推理严谨,方案可行;步骤合理,过程具体,操作规范,数据完整,分析正确。
11.项目特色或创新(可空缺,限 150 字)
1) 理论知识触及凸显深度
实验从基本的电磁场、电路的基本原理出发,通过理论磁路模型、有限元计算模型、磁系统搭建、测试电路搭建,实现了对磁路的研究,触及深度理论知识,并实现了从理论到实际的融会贯通。
2) 工程能力培养综合性强
实验中涉及磁路模型建立与分析运用了基本理论知识,计算机仿真软件的运用锻炼了学生在现代工程环境下使用新设计分析手段的能,直流磁系统的组装与实验测试电路的搭建、调试等操作锻炼了电类专业学生的动手能力,学生完全自主研究设计实验,自主实践实验,自主分析实验结果,培养学生工程实践能力。
3) 拓展部分发挥灵活多样
计算机求解、处理数据,锻炼学生综合能力;实验中,仿真分析的参数设置与针对实验中“下沉”现象的思考有充分的扩展空间,对不同特长的学生均留有发挥之处,更容易激发学生的自主思考意识与创新精神。